最近韓国ではNetflixの「白と黒のスプーン」という料理競演プログラムが非常に話題になりました。全国で選ばれた料理人たちが競争と協力を通じて芸術的な料理を作り出すのを見ていると、時間が経つのも忘れて集中してしまいます。
今回のポストでは色んな調理道具と特許について調べてみたいと思います。
様々な調理道具の世界
料理プログラムを見ると、料理だけではなく普段見られなかった色んな調理方法が多いです。分子で料理を作り出す分子料理機から真空状態で材料を徐々に加熱するスビドゥマシンまで、本当に様々な調理道具が多いですが、この調理道具はどんな技術から生まれたか調べてみたいと思います。
肉を火の代わりに水で加熱して温めるスビドゥマシン
「スビドゥ(Sous-vide)」とは、肉のような食べ物を密封した袋に入れて正確に計算された温度の水でゆっくり加熱する調理法を言います。このスビドゥ調理法の核心原理は、たんぱく質の変性開始温度を正確に把握して適当な温度と時間の調節を通じて料理人が望むだけ変性させることです。
![]() |
| ▲ ミシュランガイド <出処:https://guide.michelin.com/kr/ko/article/features/%EC%88%98%EB%B9%84%EB%93%9Csous-vide%EB%9E%80> |
特に肉の場合には焼き加減によって少し焼いた状態だと柔らかいですが、焼きすぎるとまた固くなる特性があるため、変性がなりすぎないように50度~65度の温度で長時間調理したほうが最も味もよく栄養も保てるそうです。このようにスビドゥ調理は精密な温度調節が最も重要であり、どんな調理道具でスビドゥをするかが核心です。このスビドゥマシンにも色んな技術が存在していました。
まず最も基本的なスビドゥマシンを調べてみます。
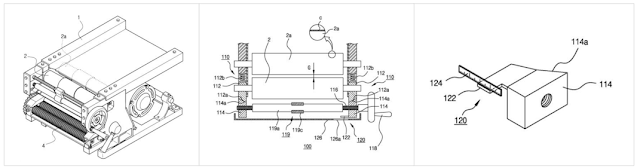
この装置は肉架空品に熱が均等に伝わるように制作されたスビドゥ装置で、肉架空品に投入される管の内部に微細バブルを吐き出して流体が調和に循環するように設計されました。この装置の特徴は管の内部にインペラが装着されて円滑な空気噴射で熱の分布と最適の温度制御維持ができる点だそうです。
一方、スビドゥ調理で必須とされる真空包装が必要のないスビドゥ装置も開発されました。スビドゥ調理は前処理された食べ物を真空包装パックに入れて真空を行う過程によって調理時間が長くなって不便もあるのが事実です。そこで誕生したこの装置は、このような真空包装過程を減らして真空包装の効果を同じく具現できるように考案されました。主な原理は密封及び真空効果を可能にする独特な固定ユニットの使用です。
固定ユニットを固定台に固定して固定台の移動で保存手段を支持して真空効果を具現するそうです。また、センター、タイマー及び状態異常アラート装置などの付加装置も搭載してユーザーが望む温度及び時間の設定が可能で、材料がスビドゥされる間に他の作業の並行にも容易だそうです。
製麺機とパスタ製造機
パスタの最も基本になる「麺製造機」です。この製麺機はパスタのみならずそば、うどん麺のような色んな麺類を直接作れる製麺機です。
ただこの製麺機は作った麺の太さが一定でない短所を補完して一定の麺の厚さを維持できるように設計された装置です。作動する方法は簡単です。製麺機のローラーの間に生地を入れてレバーを回すとローラーが回って細い麺が作られる方式です。
パスタ料理を直接作れる携帯用の全自動パスタ生産装置もあります。簡単そうに見えるパスタ料理も実は麺の生地のために直接計量と追加はもちろん、最終完成のために色んな過程が必要です。
この装置を使うと一度の注文入力だけでおいしいパスタを作ることができます。パスタ生産装置には小麦粉を均等に分配するための粉分配機能から水の分配、調理添加剤投入機能まですべて搭載されていて、モーターを作動するとこの機能たちが自分の役割を果たしてパスタを完璧に調理するそうです。
窒素が作り出すやわらかい泡とクリーム「エスプーマ(Espuma)」
エスプーマとは、ホイップサイフォン(Whipped Cream Dispenser)を利用して泡を作り出す技術です。色んな液体またはピューレ状態の材料に窒素ガスを注入して軽くて柔らかい泡状にすることができるそうです。
エスプーマのための技術と装置にはどんなものがあるでしょうか?
まず、亜酸化質素供給装置から見てみたいと思います。食堂とかフェアでホイップクリームを作る時に使われる亜酸化質素を安全に供給できる装置です。この装置は亜酸化質素の流動を簡単に調節できる圧力調節部と安全部、1・2次バルブがあって簡単な圧力調節と安全なホイップ機への注入が可能だそうです。
ホイップクリーム製造機もあります。クリームとホイップガスだけ混合されて空気の量は最小化して高品質のホイップクリームを作れるホイップクリーム製造機です。この製造機は「伸縮性袋」という特集部品を搭載して袋にクリームをぎっしり詰めて質素ガスを注入しても不純物の空気が最小化する効果が優れているそうです。
今後がもっと期待される調理道具の世界
今回のポストでは調理道具の技術について調べてみました。もう料理も科学と技術が融合して新しく誕生する領域に至っています。ミシュランの料理を気軽に触れることができる時代になり、今後またどんな料理や調理道具が私たちの目と口をひきつけるか楽しみです。
Japan Tel: +82-2-726-1113, 1107 | Fax: +82-2-777-7334 | wips-jp@wips.co.kr











0 件のコメント:
コメントを投稿